|
服務條件 |
委托方檢測設備需能正常運行,新安裝的主通風機應具有礦用產品安全標志。 |
|||||||||||||||||||||||||||||||||||||||||||||||||||||||||||||||||||||||||||||||||||||
|
流程 |
1、依據 AQ2054-2016《金屬非金屬礦山在用主通風機系統安全檢驗規范》 2 職責 2.1 檢測員嚴格按標準規定對在用設備進行檢測,忠實記錄檢測數據,確保原始記錄準確,然后根據檢測記錄出具檢驗報告。 2.2 質量監督員對檢測工作進行監督,保證結果準確。 2.3 檢測室主任對報告和檢測記錄進行核查,確認后簽字。 3 檢測項目 礦用產品安全標志、零部件和緊固件、剎車裝置、潤滑系統、結構、電動機運行功率、接地電阻、絕緣電阻、葉片徑向間隙值、安全保護及設施、監測用儀器儀表、振動、備用電動機、噪聲、軸承溫度、 效率。 4 儀器設備 通風機綜合測試儀(TC-3B)、皮托管、紅外線測溫儀、轉速表、兆歐表、聲級計、鋼卷尺、塞尺、振動測量儀、電子秒表、溫濕度表,接地電阻、紅外線測距儀。 5 檢測方法 5.1 礦山在用抽出式主通風機性能測試,風杯法 5.1.1 查看通風機及配套件的相關證件是否齊全:安標準用證、防爆合格證、摩擦火花安全合格證等。 5.1.2 現場檢查項目:通風機、電動機各零件是否齊全,主通風機各連接部位緊固件是否牢固;剎車靈活可靠;潤滑系統工作是否正常;主通風機外殼或內部結構是否有異變或損傷;主通風機銘牌標志、風流標志是否齊全。
圖1 5.1.3,停止要被測通風機, 5.1.4,用吊車吊開防爆門。 5.1.5,礦方進入井下通風道做密閉, 5.1.6,測試人員進入通風硐中,選取適合鋪設風杯的測試位置,測試位置應為矩形規律方便固定支架,然后量取測試點面積,將以下(圖2)方式平均布置風杯,將所有風杯連接線連接到測試模塊上,在連接到通風機綜合測試儀傳感器接口上。
圖2 5.1.7,將皮托管通過小洞深入風硐內迎風放入風硐中心,并固定在風杯固定架上,皮托管的“+”端連接到U型管測量全壓,皮托管的“-”端連接分別到U型管和將負壓傳感器與軟管相連接,各連接點要密閉,不能漏氣;負壓傳感器連接電纜接到通風機綜合分析儀。負壓傳感器接口上。 5.1.8,溫濕度傳感器要固定在風杯支架上或掛到風道內任意位置但要將溫濕度傳感器固定好;盡量不要將溫濕度傳感器放在風道地面上,以防地面上的泥水灌進溫濕度傳感器內,損壞溫濕度傳感器,在連接到通風機綜合測試儀傳感器接口上。 5.1.9,聯系礦方電工將開關柜斷電,放電,在將綜合電能分析儀的電壓連接電纜黃、綠、紅夾子分別接a、b、c三相中的任一相,三種顏色的鉗形電流表和同顏色的電壓接到同一相測量。鉗型電流互感器鉗入方向要一致。 輸入電壓高于660V時,應通過電壓互感器將電壓變為交流50~660V接入。在電機三相電源的絕緣護套良好的情況下,鉗型電流互感器才可直接接入,否則不能直接接入,以保證人身及設備的安全。 5.1.10,將大氣壓傳感器在連接到通風機綜合測試儀傳感器接口上和主機一起放置在大氣中即可。 5.1.11,打開調節風門。 5.1.12,啟動被測通風機,并啟動通風機綜合測試儀開始測試,風機啟動運轉20min后,記錄本次測量各基礎數據,在井筒口處添加木板,改變風機阻力,運轉20min后,在依次添加木板,重復8次數據后,點擊提交按鈕,測試結束。 5.1.13 振動檢測 5.1.13.1對葉輪直接裝在電動機軸上的通風機,應在電動機定子兩端軸承部位測量其垂直、水平和軸向三個方向的振動值見圖3當電動機帶有風扇罩時,軸向振動可不予測量。
5.1.13.2對于雙支承有兩個軸承體的通風機,對每個軸承按圖4所示的三個方向測量其振動值。 ![]() 圖4 5.1.13.3當兩個軸承都裝在同一個軸承箱內時,按圖5所示的要求,在軸承箱體軸承部位測量其振動值。 ![]() 圖5 注:圖中→及X為測點方向和位置 5.1.13.4當被測的軸承箱在通風機殼體內部時,按5.1.8.2或5.1.13.5的要求,并預先裝置振動傳感器,然后引出風機以外玉指示器連接測量其振動值 5.1.13.6當被測的軸承箱在通風機殼體內部、又無法預設振動傳感器時,可在支撐軸承處的通風機外殼相應部位測量垂直和水平兩個方向的振動值,見圖6. ![]() 圖6 5.1.14 噪音檢測 5.1.14.1 通風機作出氣氣動性能試驗時,測量出氣口輻射的噪音,測點位置D(見圖7-圖10)是在與出氣口軸線45°方向,與出氣口的距離為標準長度。測點位置應選在無氣流渦區處和電動機噪音影響較少的地方。
圖7 圖8
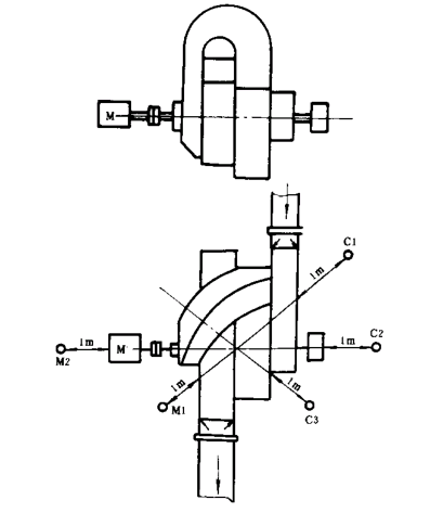
圖9 圖10 通風機的出氣口均接管道時,測量機殼輻射的噪音,測點位置在通風機主軸水平面內、經過葉輪幾何中心的直線上,距離殼體1m處。測點位置C1、C2……,M1、M2……,見圖11-圖21。
圖11 圖12 圖13
圖17 圖18
圖19 圖20 圖21 上述所有風機測點位置的高度,從地面算起在1m以下是,均在1m的高度測量,測點與聲源點的絕對距離按標準長度。 通風機出氣口的中心或機殼的中心高度從地面計算不足1m時,應提高1m。 5.1.15轉速測定 5.1.15.1電動機轉速測量,把錫箔紙裁剪層長方條貼敷于電動機轉子上,用轉速表測量轉速,每調一個工況點測3次,取其算術平均值。 5.1.15.2通風機轉速測量,同5.3.15.1條,通風機于電動機直接傳動,只測電動機轉速;通風機于電動機以其他方式傳動,應分別測通風機、電動機的轉速。若現場確不具備測試通風機、電動機轉速條件時,以通風機和電動機額定轉速為依據。 5.2 礦山在用離心式主通風機性能測試,風杯法
圖22 5.2.1,停止要被測通風機。 5.2.2,用吊車吊開防爆門。 5.2.3,礦方進入井下通風道做密閉。 5.2.4,此時在測試井筒口鋪滿木板,放置布置儀器設備和抽出式通風機測試相同。 5.2.5,開啟被測風機,打開調節風門。 5.2.6,開始測試并啟動通風機綜合測試儀開始測試,風機啟動運轉20min后,記錄本次測量各基礎數據,然后在井筒口處依次減少木板,改變風機阻力,運轉20min后,在依次拿下一塊木板,重復8次數據后,點擊提交按鈕,測試結束。其余測試項同抽出式相同。 5.3 礦山在用抽出式主通風機性能測試,全壓-靜壓差法 5.3.1查看通風機及配套件的相關證件是否齊全:安標準用證、防爆合格證、摩擦火花安全合格證等。 5.3.2現場檢查項目:通風機、電動機各零件是否齊全,主通風機各連接部位緊固件是否牢固;剎車靈活可靠;潤滑系統工作是否正常;主通風機外殼或內部結構是否有異變或損傷;主通風機銘牌標志、風流標志是否齊全。 5.3.3停止要被測通風機。 5.3.4用吊車吊開防爆門。 5.3.5礦方進入井下通風道做密閉, 5.3.6測試人員進入通風硐中,選取適合鋪皮托管的測試位置,測試位置應為矩形規律方便固定支架,然后量取測壓斷面面積(測試相對靜壓的位置)、擴散器出口的面積;將皮托管通過小洞深入風硐內迎風放入風硐中心點,并固定在固定架上,將皮托管的全壓接頭用軟管接到差壓傳感器的“+”端,皮托管的靜壓接頭用軟管接到差壓傳感器的“-”端。測得的差壓值即為動壓。測試時,軟管連接的地方一定要扎牢,不能漏氣;否則,測試的數值將不正確。 大氣壓的測試、溫度、濕度的測試、負壓(相對靜壓)的測試、電機功率的測試方法同上。 注:測試時,安裝皮托管的動壓測頭要正對著風流方向,角度偏差不大于15度,否則,測試的數值將不精確。 測試時,要將測動壓面積(皮托管安裝的位置)、測壓斷面,面積(測試相對靜壓的位置)、擴散器出口的面積測量準確,并準確的輸入到軟件中,否則,軟件內換算的相應的數值將不正確。 5.3.7,打開調節風門。 5.3.8,啟動被測通風機,并啟動通風機綜合測試儀開始測試,風機啟動運轉20min后,記錄本次測量各基礎數據,在井筒口處添加木板,改變風機阻力,運轉20min后,在依次添加木板,重復8次數據后,點擊提交按鈕,測試結束。其余檢測項與風杯法相同。 5.4 煤礦在用離心式主通風機性能測試,全壓-靜壓差法 5.4.1查看通風機及配套件的相關證件是否齊全:安標準用證、防爆合格證、摩擦火花安全合格證等。 5.4.2現場檢查項目:通風機、電動機各零件是否齊全,主通風機各連接部位緊固件是否牢固;剎車靈活可靠;潤滑系統工作是否正常;主通風機外殼或內部結構是否有異變或損傷;主通風機銘牌標志、風流標志是否齊全。 5.4.3停止要被測通風機。 5.4.4測試人員進入通風硐中,選取適合鋪皮托管的測試位置,測試位置應為矩形規律方便固定支架,然后量取測壓斷面面積(測試相對靜壓的位置)、擴散器出口的面積;將皮托管通過小洞深入風硐內迎風放入風硐中心點,并固定在固定架上,將皮托管的全壓接頭用軟管接到差壓傳感器的“+”端,皮托管的靜壓接頭用軟管接到差壓傳感器的“-”端。測得的差壓值即為動壓。測試時,軟管連接的地方一定要扎牢,不能漏氣;否則,測試的數值將不正確。 大氣壓的測試、溫度、濕度的測試、負壓(相對靜壓)的測試、電機功率的測試方法同上。 注:測試時,安裝皮托管的動壓測頭要正對著風流方向,角度偏差不大于15度,否則,測試的數值將不精確。 測試時,要將測動壓面積(皮托管安裝的位置)、測壓斷面,面積(測試相對靜壓的位置)、擴散器出口的面積測量準確,并準確的輸入到軟件中,否則,軟件內換算的相應的數值將不正確。 5.4.5,打開調節風門。 5.4.6,啟動被測通風機,并啟動通風機綜合測試儀開始測試,風機啟動運轉20min后,記錄本次測量各基礎數據,在井筒口處依次拿下一塊木板,改變風機阻力,運轉20min后,在依次添加木板,重復8次數據后,點擊提交按鈕,測試結束。其余檢測項與風杯法相同。 5.5 礦山在用抽出式主通風機安全性能測試,風杯法 ![]() 圖23 5.5.1 停止要被測通風機, 5.5.2礦方進入井下主通風道在(圖23中3)位置做鋼性支架鋪設測試用擋風木板, 5.5.3測試人員進入通風硐中,選取適合鋪設風杯的測試位置,測試位置應為矩形規律方便固定支架,然后量取測試點面積,將以下圖方式平均布置風杯,將所有風杯連接線連接到測試模塊上,在連接到通風機綜合測試儀傳感器接口上。 ![]() 圖24 5.5.4 將皮托管通過小洞深入風硐內迎風放入風硐中心,并固定在風杯固定架上,皮托管的“+”端連接到U型管測量全壓,皮托管的“-”端連接分別到U型管和將負壓傳感器與軟管相連接,各連接點要密閉,不能漏氣;負壓傳感器連接電纜接到通風機綜合分析儀。負壓傳感器接口上。 5.5.5溫濕度傳感器要固定在風杯支架上或掛到風道內任意位置但要將溫濕度傳感器固定好;盡量不要將溫濕度傳感器放在風道地面上,以防地面上的泥水灌進溫濕度傳感器內,損壞溫濕度傳感器,在連接到通風機綜合測試儀傳感器接口上。 5.5.6,聯系礦方電工將開關柜斷電,放電,在將綜合電能分析儀的電壓連接電纜黃、綠、紅夾子分別接a、b、c三相中的任一相,三種顏色的鉗形電流表和同顏色的電壓接到同一相測量。鉗型電流互感器鉗入方向要一致。 輸入電壓高于660V時,應通過電壓互感器將電壓變為交流50~660V接入。在電機三相電源的絕緣護套良好的情況下,鉗型電流互感器才可直接接入,否則不能直接接入,以保證人身及設備的安全。 5.5.7,將大氣壓傳感器在連接到通風機綜合測試儀傳感器接口上和主機一起放置在大氣中即可。 5.5.8打開調節風門。礦方作業人員做好安全防護進入(圖23中3)位置帶好測試用擋風木板準備測試。 5.5.9啟動被測通風機,并啟動通風機綜合測試儀開始測試,啟動運轉20min后,記錄本次測量各基礎數據,在(圖中3)位置處添加木板,改變風機阻力,運轉20min后,在依次添加木板,重復8次數據后,點擊提交按鈕,測試結束。 5.6 礦山在用離心式主通風機安全性能測試,風杯法 ![]() 圖24 5.6.1,停止要被測通風機, 5.6.2,礦方進入井下主通風道在(圖24中3)位置做鋼性支架鋪設測試用擋風木板, 5.6.3,測試人員進入通風硐中,選取適合鋪設風杯的測試位置,測試位置應為矩形規律方便固定支架,然后量取測試點面積,將以下圖方式平均布置風杯,將所有風杯連接線連接到測試模塊上,在連接到通風機綜合測試儀傳感器接口上。 5.6.4,此時礦方作業人員做好安全防護進入在(圖24中3)位置滿木板,放置布置儀器設備和抽出式通風機測試相同, 5.6.5,打開調節風門。 5.6.6,啟動被測通風機,并啟動通風機綜合測試儀開始測試,啟動運轉20min后,記錄本次測量各基礎數據,在(圖24中3)位置處依次拿下一塊木板,改變風機阻力,運轉20min后,在依次拿下一塊木板,重復8次數據后,點擊提交按鈕,測試結束。 5.7 礦山在用抽出式主通風機安全性能測試,全壓-靜壓差法 5.7.1查看通風機及配套件的相關證件是否齊全:安標準用證、防爆合格證、摩擦火花安全合格證等。 5.7.2現場檢查項目:通風機、電動機各零件是否齊全,主通風機各連接部位緊固件是否牢固;剎車靈活可靠;潤滑系統工作是否正常;主通風機外殼或內部結構是否有異變或損傷;主通風機銘牌標志、風流標志是否齊全。 5.7.3停止要被測通風機。 5.7.4測試人員進入通風硐中,選取適合鋪皮托管的測試位置,測試位置應為矩形規律方便固定支架,然后量取測壓斷面面積(測試相對靜壓的位置)、擴散器出口的面積;將皮托管通過小洞深入風硐內迎風放入風硐中心點,并固定在固定架上,將皮托管的全壓接頭用軟管接到差壓傳感器的“+”端,皮托管的靜壓接頭用軟管接到差壓傳感器的“-”端。測得的差壓值即為動壓。測試時,軟管連接的地方一定要扎牢,不能漏氣;否則,測試的數值將不正確。 大氣壓的測試、溫度、濕度的測試、負壓(相對靜壓)的測試、電機功率的測試方法同上。 注:測試時,安裝皮托管的動壓測頭要正對著風流方向,角度偏差不大于15度,否則,測試的數值將不精確。 測試時,要將測動壓面積(皮托管安裝的位置)、測壓斷面,面積(測試相對靜壓的位置)、擴散器出口的面積測量準確,并準確的輸入到軟件中,否則,軟件內換算的相應的數值將不正確。 5.7.5打開調節風門。礦方作業人員做好安全防護進入(圖23中3)位置帶好測試用擋風木板準備測試。 5.7.6啟動被測通風機,并啟動通風機綜合測試儀開始測試,啟動運轉20min后,記錄本次測量各基礎數據,在(圖中3)位置處添加木板,改變風機阻力,運轉20min后,在依次添加木板,重復8次數據后,點擊提交按鈕,測試結束。 5.8 礦山在用離心式主通風機安全性能測試,全壓-靜壓差法 5.8.1查看通風機及配套件的相關證件是否齊全:安標準用證、防爆合格證、摩擦火花安全合格證等。 5.8.2現場檢查項目:通風機、電動機各零件是否齊全,主通風機各連接部位緊固件是否牢固;剎車靈活可靠;潤滑系統工作是否正常;主通風機外殼或內部結構是否有異變或損傷;主通風機銘牌標志、風流標志是否齊全。 5.8.3停止要被測通風機。 5.8.4測試人員進入通風硐中,選取適合鋪皮托管的測試位置,測試位置應為矩形規律方便固定支架,然后量取測壓斷面面積(測試相對靜壓的位置)、擴散器出口的面積;將皮托管通過小洞深入風硐內迎風放入風硐中心點,并固定在固定架上,將皮托管的全壓接頭用軟管接到差壓傳感器的“+”端,皮托管的靜壓接頭用軟管接到差壓傳感器的“-”端。測得的差壓值即為動壓。測試時,軟管連接的地方一定要扎牢,不能漏氣;否則,測試的數值將不正確。 大氣壓的測試、溫度、濕度的測試、負壓(相對靜壓)的測試、電機功率的測試方法同上。 注:測試時,安裝皮托管的動壓測頭要正對著風流方向,角度偏差不大于15度,否則,測試的數值將不精確。 測試時,要將測動壓面積(皮托管安裝的位置)、測壓斷面,面積(測試相對靜壓的位置)、擴散器出口的面積測量準確,并準確的輸入到軟件中,否則,軟件內換算的相應的數值將不正確。 5.8.5,此時礦方作業人員做好安全防護進入在(圖24中3)位置滿木板,放置布置儀器設備和抽出式通風機測試相同, 5.8.6,打開調節風門。 5.8.7,啟動被測通風機,并啟動通風機綜合測試儀開始測試,啟動運轉20min后,記錄本次測量各基礎數據,在(圖24中3)位置處依次拿下一塊木板,改變風機阻力,運轉20min后,在依次拿下一塊木板,重復8次數據后,點擊提交按鈕,測試結束。 5.9 AQ2054-2016金屬非金屬通風機性能測試和安全測試的檢測方法,對照條款見下表:
通風機檢驗項目分為A類項目(關鍵項)、B類項目(重要項)和C類項目(一般項)3種類型,具體劃分如下: 出現以下情況之一時,檢驗結論綜合判定為不合格; a A類項目,出現1項或1項以上不合格; b B類項目,出現3項或3項以上不合格; c C類項目,出現5項或5項以上不合格; d B類項目和C類項目的不合格項數之和為5項或5項以上。 注:測試通風機風杯法適用于主進風開闊巷道測風處矩形方正規率且對儀器設備無傷害,無安全隱患的情況下使用,如不滿足上訴要求則使用全壓-靜壓差法。
6 編發報告 6.1 編寫報告應持客觀、公正、實事求是的原則。 6.2 報告的內容 6.2.1 檢驗報告的內容包括進行檢測的地點、儀器狀態、檢測依據、根據檢測數據而得出的檢驗結論。 6.2.2 按標準檢測合格的儀器,發給檢驗報告;不合格的儀器發給檢測結果,并注明不合格項目。 6.3 檢驗報告按本公司《結果報告管理程序》批準、歸檔、簽章、發出;特別注意報告的批準必須由相關領域的授權簽字人簽字。 7 注意事項 7.1 檢驗報告的編制人和進行檢測的人員不能由同一人擔任。 7.2 本公司不能在檢驗報告中出現資質范圍外的項目、參數。 8 記錄 8.1 《檢測檢驗委托合同書》 8.2 《金屬非金屬礦山在用主通風機系統安全檢測檢驗原始記錄》 8.3 《檢驗報告發放登記表》 8.4 《檢驗報告》 |
|||||||||||||||||||||||||||||||||||||||||||||||||||||||||||||||||||||||||||||||||||||
|
時限 |
7天 |















掃一掃,精彩關注
網站首頁
一鍵電話